产品展示
Product display


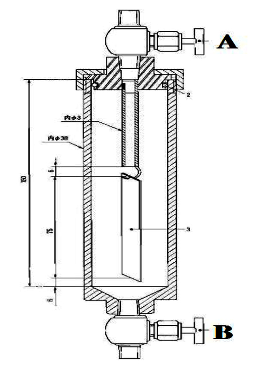
CH-0232 液化气铜片腐蚀测定仪
CH-0232 液化气铜片腐蚀测定仪

一、仪器概要
将一块磨光铜片全部浸入装有已被水饱和的 l00mI具有适宜工作压力的圆筒试样,在 40℃温度下放置 lh。到期取出铜片,用铜片腐蚀标准色板比较,并按附录 A 中表评定。
二、技术参数
1.工作电压: AC220V±10 50Hz
2.功率:2000W
3.控温范围:室温~100℃
4.温度传感器:Pt100
5.控温方式:数字显示温控仪,控温精度:0.1℃;
6.不锈钢浴槽、壳体,防锈
符合G标:
SH/T 0232
D130/IP154
GB/T5096
三、试片的准备
1、 表面准备:先用碳化硅或氧化铝(刚玉)砂纸或砂布除去铜片所有六个面上的全部瑕疵,Z后用 65μ m(240 粒度)碳化硅或氧化铝(刚玉)砂纸或砂布除去预先用其他等级砂纸留下的所有痕迹,此铜片浸于洗涤溶剂中,供直接取出作Z后磨光或贮存备用。
注:切实可行的手工磨光方法为放一张砂纸或砂布于一平面上,用洗涤溶剂润湿并作旋转运动。使铜片对着砂纸摩擦,用无灰滤纸防止手指接触铜片,或者用粒度合适的干砂纸或砂布用电动机驱动的机械来加工铜片。
2、Z后磨光:用镊子从洗涤溶剂中取出铜片,用无灰滤纸保护夹持于手指中,以几滴洗涤rong剂润湿脱脂棉,从清洁的玻璃板上蘸起 105μ m 的碳化硅或氧比铝(刚玉)砂粒,首先磨光两端,然后磨光侧面,再以新鲜脱脂棉用力擦。接着将铜片夹在夹具上,并用脱脂棉蘸起 105μ m 的砂粒磨光所有主要表面,再以新鲜的脱脂棉用力擦净铜片的所有金属粉末,直至用以新鲜脱脂棉擦拭时保持洁净为止。Z后磨光时,必须沿铜片的长轴中心线方向。在反向磨光之前,行程要超过同片的末端。磨片过程严jin用手指接触铜片。
四、铜片腐蚀测定仪操作步骤
1、 保证有水的前提下,打开测定仪,等仪器稳定到40℃;先加水再开机。
2、 打开试验圆筒的底阀 B注入约 1mL-蒸馏水到清洁的试验圆筒中,并旋转它,以润湿其筒壁,让残液从 B 阀排出。
3 、用镊子夹住新磨光的铜片,立即挂到圆筒的挂钩上,并放入筒中(圆筒保持垂直)。在装配时保证铜片的底边距离筒底至少 6mm。仪器装配好后把 A 阀和 B 阀关上。
4 、把试验圆筒保持在垂直的位置,使铜片不被水弄湿,用经试样冲净的连接软管及其配件将试样源及试验圆筒的 A 阀紧密地连接好。先打开试样源上的阀,然后打开圆筒上的 A 阀,使一些试样进入圆筒。
5 、关闭 A 阀,勿使试验圆筒脱离试样源。倒转试验圆筒并打开 B 阀清除试验圆筒中的空气,关闭 B阀。再把试验圆筒转回到垂直位置,打开B阀把全部残液排出。在垂直位置上立即把 B 阀关闭,打开 A阀把试样充满试验圆筒。当试验圆筒已充满,关闭试样源的阀及阀A,卸开连接软管。
6、 刚卸开连接软管,而圆筒处于直立位置时,立即稍微打开 A 阀,使高出浸入管末端上方的液体,能从试验圆筒中除去。当气体Z初从 A 阀出现时,关闭A阀。
7 、立即把圆筒浸入到 40℃的恒温水浴中,让圆筒在水浴中放置 lh±5min,为防止忘记时间,可用定时器提醒。
8 、试验结束时,从水浴中取出圆筒,把圆筒置于直立位置,打开 B 阀,将液体和大部分气体排出。
9 、当圆筒中只存有微小的压力时,立即卸开装置,并立即把经液化石油气作用过的铜片与腐蚀标准色板进行比较。比较时应将试片和标准色板置于光反射约 45°角的方向上进行观察。
五、判断
根据试片对于标准色板相适应的情况,可按附录 A 中所述的 1,2,3 或 4 级报告试样的腐蚀程度。
1、当—块试片的外观明显介于两个相邻的标准色板之间时应按变色严重的标准色板判定其f蚀级别。如果一块试片看上去比 1 级标准色板有更深的橙色,则仍认为它属于 1 级,但若观察到出现红色,则该片应判定为 2 级。
2、2 级的紫红色片可能被误认为黄铜色片完全被洋红色所遮盖的 3 级。为了区别开,把试片浸在洗涤溶剂中,前者将出现暗橙色,而后者将不变。
3、 为了区别 2 级和 3 级的多色片,可把试片放在 20mmXl50mm 试管中试管横卧在加热板上,在 315—370℃下加热 4~6min。用另—个试管放入一支高温蒸馏温度计观察温度并调节温度。如果试片属于 2 级,则先呈银色而后呈现金色。如果是 3 级,则将呈现如 4 级那样的明显黑色及其他各色。
4、 如发现手指印弄脏了试片,导致产生W点,则应重新进行试验。
5、 如沿着试片扁平面的锐边显出比试片大部分表面更g的级别,也要重做试验,这种情况可能是由于试片在磨光时擦伤边棱所造成的。
6、 如由于加入蒸馏水,使试片产生棕色疵点时,则这些疵点可忽略不计或重做试验。
六、试验圆筒的清洗
当试验完毕后如铜片呈现 3 级或 4 级f蚀则应将试验圆筒内面擦净并在使用后立即用洗涤溶剂冲洗干净供另一次试验用。
七、比色板
f蚀标准色板表示了具有代表X的试验铜片的发暗和F蚀增加的程度(见下表)。为了保护起见,这些标准色板,以金属板的形式装在塑料套之中,金属板的反面都有说明。
装在塑料套中的F蚀标准色板应避光,以防褪色。用比较两块标准色板的差异来检验其褪色程度,其中—块为小心地避光保存下的新标准色板。在散射光线下,对这两套色板进行观察,首先从上方观察,然后从 45°角进行观察。如果观察到任何褪色迹象。特别是色板左端褪色的迹象,则建议把褪色厉害的色板废弃。
另一种方法是,当购进新色板时,把一条 20mm 宽的遮光片横放在色板带邑部分的顶部,然后不时地移走遮光片并检查其暴光新色板顶部的任何褪色迹象。若发生了任何褪色,则应更换新的标准色板。如果塑料套的表面出现有深伤痕,则建议更换新的标准色板。
附录A 铜片腐蚀标准色板的分级表
分级
新磨光的铜片
标志
说明
1
轻度变色
a 淡橙色几乎和新磨光的铜片—样
b 深橙色
2
中度变色
a 紫红色
b 淡紫色
c 带有淡紫蓝色或银色或两种都有并分别覆盖在紫色上的多彩色
d 银色
e 黄铜色或金黄色
3
深度变色
a 洋红色覆盖在黄铜色上的多彩色
b 由红和绿显示的多彩色孔雀绿但不带灰色
4
腐蚀
a 透明的黑色、深灰色或带有轻微孔雀绿的棕色
b石墨黑色或无光泽黑色
c有光辉黑色或乌黑发亮的黑色
注:
①铜片F蚀标准色板是由表中这些说明所表示的色板组成的。
②此系列中所包括的新磨光铜片,仅作为试验前磨光铜片的外观标志。即使使用一个完全不F蚀的试样,经试验后,也不可能重现这种外观。
八、售后服务与安全注意事项
1、本仪器的有效保修期为自安装之日起一年。
2、条款
保修期内,由于制造原因造成仪器任何部件的损坏,制造商将免费更换或维修。
3、免费保修不包括以下内容
(1)由于误操作造成;
(2)由于非制造商或非本公司指定的人员维修或调试而造成;
(3)由于本仪器以外的因素引起的;
(4)由于在恶劣环境条件下使用,如高温,高湿度,F蚀X气体,震动等造成;
(5)由于火灾,地震或其他不可抗拒的因素引起的;
(6)由于安装后的移动或运输而引起的;
(7)免费保修不包括易耗件的更换。
安全注意事项:
为了保证仪器的操作安全,请遵守下列注意事项:
1、请按照仪器的设计用途使用仪器;
2、请严格遵守本说明书所列出的操作步骤、并可靠接地;
3、仪器必须先加水,再开机;
4、仪器的维修,请与上海传昊仪器有限公司联系。
朱先生 经理
13701737535 021-51602197
137 0173 7535
全国服务热线
SERVICE HOTLINE